Personalizado Medidor de água do tipo úmido remoto sem fio Fornecedores, Fábrica OEM/ODM - Ningbo Jingcheng Technology Co, ltd.

Medidor de água do tipo úmido remoto sem fio

Lar / Produto / Medidor de água remota sem fio / Medidor de água do tipo úmido remoto sem fio

KM01-01

Medidor de água do tipo úmido remoto sem fio

Esta série de produtos são medidores de água remotos sem fio que separam a parte mecânica do módulo inteligente e carregam o consumo de água através da Internet NB \ Lora. O módulo de comunicação é instalado diretamente no medidor de água base. Os requisitos de instalação são simples e o processo é rápido. O medidor de água adota um ponteiro de leitura independente, que não interfere no módulo eletrônico e não tem influência

Contate-nosMedidor de água do tipo úmido remoto sem fio
Medidor de água do tipo úmido remoto sem fio

Descrição

1. Recursos

● Roda de palheta de jato múltipla.
● Registro de tipo úmido, alta sensibilidade e mostrador selado com glicerina garante leitura clara a longo prazo.
● Tipo de divisão, estrutura de vedação separada, fácil de substituir e manter, à prova de umidade, IP68.
● Design de câmara de bateria substituível.
● Adote a tecnologia estável de transmissão de sinal da Internet nb \ lora.
● Colete o consumo de água de acordo com 1L, 10L, 100L.
● Material: ferro, plástico, latão, inoxidável.
● Fornecido com vedação de chumbo e tampa à prova de poeira.
● Clima e EMC Classe B \ O, E1.

2. Parâmetro eletrônico

Datacomms

Corrente estática

Relatório

Frequência operacional

Potência transmitida

Receber sensibilidade

Lora

25μA

Não magnético

470-510MHz

≤20dbm

-136 1dbm

NB-LOT

15μA

Não magnético

B1, B2, B5, B8, NB-LOT

≤23dbm

-131 1dbm

3. Curva de perda de cabeça




4. Curva de erro de precisão




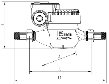
5. Dimensão de instalação

Item no

LXSC-15

LXSW-20

LXSW-25

L1

mm

260

295/300

346

L

mm

165

190/195

225

H

mm

130/140

130/140

140

W

mm

100

100

100

Tópico de conexão

D (mm)

G3/4 "

G1 "

G1 1/4 "

D (mm)

R1/2

R3/4

R1

Peso

com Unionskg

sem sindicatos (kg)

1.3

1.5

2.0

6. Parâmetro técnico principal

Número do modelo

LXSW-15

LXSW-20

LXSW-25

Diâmetro nominal (DN) [mm]

15

20

25

32

40

Razão Q3/Q1

R80

R100

R80

R100

R80

R100

R80

R100

R80

R100

Taxa de fluxo de sobrecarga (Q4) [M³/H]

3.125

3.125

5

5

7.875

7.875

12.5

12.5

20

20

Taxa de fluxo permanente (Q3) [M³/H]

2.5

2.5

4

4

6.3

6.3

10

10

16

16

Taxa de fluxo de transição (Q2) [M³/H]

0.05

0.04

0.08

0.064

0.126

0.1

0.2

0.16

0.32

0.256

Taxa de fluxo mínima (Q1) [M³/H]

0.032

0.025

0.05

0.04

0.08

0.063

0.125

0.1

0.2

0.16

Classe de precisão

2

Erro máximo permitido para a zona de vazão mais baixa (MPEι)

± 5%

Erro máximo permitido para a zona de vazão superior (MPEμ)

± 2% para água com temperatura ≤30 ℃
± 3% para água com temperatura > 30 ℃

Classe de temperatura

T30, T50

Classes de pressão da água

Mapa 16

Classes de perda de pressão

△ P63

Indicando intervalo [M³]

99 999

Resolução do dispositivo indicador [M³]

0.00005

Classes de sensibilidade ao perfil de fluxo

U10 D5

Limitação de orientação

Horizontal

Entre em contato conosco

Send Message
Medidor de água remota sem fio

Quem somos nós?

Ningbo Jingcheng Technology Co., Ltd.

Ningbo Jingcheng Technology Co., Ltd. está localizado no pitoresco Parque de Investimentos Jiangbei, NINGBO, CHINA. É uma empresa abrangente de alta tecnologia que integra investigação e desenvolvimento científico, produção, vendas e serviços. Foi fundada em 2002 como fabricante e exportadora de contadores de água há mais de 22 anos. A fábrica cobre uma área de 40 acres (30.000 metros quadrados), 200 funcionários, mais de 100 tipos de produtos e uma capacidade de produção de 5 milhões por ano. A sua gama de produtos abrange contadores de água inteligentes de jato único, multijato, tipo pistão volumétrico, tipo Woltma, contadores de água inteligentes de cartão IC, contadores de água de controlo remoto, contadores de água de controlo remoto direto de leitura optoelétrica, contadores de água purificada e contadores de água ultrassónicos, em conformidade com a norma internacional ISO4064B, grau C, D. Temos cooperação com muitas empresas nacionais e internacionais. Os nossos principais mercados estrangeiros são a Ásia, África, Europa, América do Sul, etc.
"Continue constantemente melhorando, insistindo em sinceridade e boa fé" é o nosso objetivo. Passamos pelo sistema de gerenciamento de quantidades ISO9001: 2015 e ISO14001: 2015 Certificações do sistema ambiental, ISO 45001: 2018 Ocupação Sistema de Gerenciamento de Segurança em Saúde, Estabeleceu procedimentos de controle rigoroso e científico de qualidade e gerenciamento de operações e garantiu numerosos interesses dos usuários.
Sob os antecedentes do desenvolvimento do setor de medidores de água Ningbo, o Jingcheng Meter pesquisa e desenvolve novos produtos que atendem aos requisitos de demanda e proteção ambiental do mercado e receberam comentários favoráveis ​​de clientes novos e antigos. Seguindo a idéia de operação de "tecnologia e qualidade de qualidade e serviço sincero", estamos prontos para fornecer produtos e serviços de alta qualidade para perspectivas brilhantes com você de mãos dadas.

Honras e qualificações

Todo certificado testemunhou nossa especialidade.

Explorar mais
Ningbo Jingcheng Technology Co., Ltd.

Nossas notícias

Siga as informações da empresa e compreenda as tendências do setor.

Explorar mais
Ningbo Jingcheng Technology Co., Ltd.